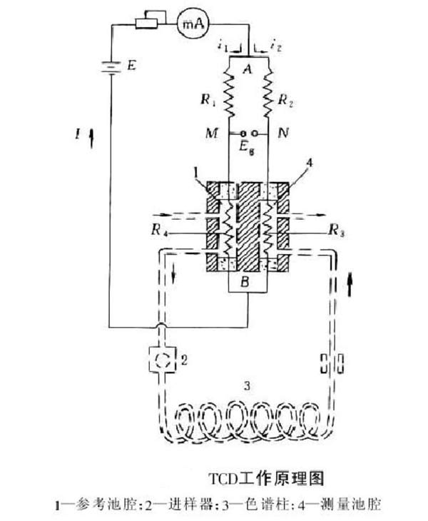
热导检测器的主要部件是一个热导池,热导池是在不锈钢块上钻四个对称的孔,各孔中均装入一根长短和阻值相等的热敏丝,将四根阻丝接成桥路,让一对通孔中只流过纯钱气,称参比臂;另一对通孔流过携带试样蒸气的载气,称测量臂。

检测原理是基于不同气体或蒸气具有不同的热导系数。一般金属丝的电阻值随温度升高面增大。在未进样时,电桥置于恒温室中通以恒定电流,两臂都通入纯载气并保持桥路电流、池体温度、载气流速等操作条件恒定,因此电流流经两臂阻丝所产生的热量恒定,两臂中热敏丝温度和电阻相等,电桥处于平衡状态,无信号输出,进样后,试样中组分在色谱柱中分离后进入测量背,含有组分的载气和纯载气的热导系数不同,引起通过测量臂气体导热能力改变,致使热敏丝温度发生变化,从而使电桥失去平衡,所以就有信号输出。载气中待测组分含量越高,测量池中气体热导系数改变越大,池内热敏丝温度及电阻值亦改变越大,输出电压差也就愈大,这个讯号与被测气体浓度成一定的线性函数关系,通过记录仪可以记下相应的色谱峰。
热导检测器的检测过程如下:在恒温的检测室中,通恒定的工作电流和通恒定的载气流速时,热敏元件的发热量和载气所带走的热量也均恒定,故使热敏元件的温度恒定,也即其电阻值保持不变,电桥保持平衡,此时无变化信号产生;当被测物质与载气一道进入热导池测量臂时,由于混合气体的热导率与纯载气不同(往往低于纯载气的热导率),因而带走的热量也就不同,使得热敏元件的温度发生改变,其电阻值也就随之改变,故使电桥产生不平衡电位,输出信号至记录设备(记录仪、色谱数据处理机或色谱工作站等),进行数据处理、图象显示、打印图谱和打印分析结果等。



